8318 H Вентилятор компактный ebmpapst
- Характеристики
- Описание
- Задать вопрос
-
Постоянный/переменный ток DC Минимальная температура окружающей среды, °C -20 [°C] Максимальная температура окружающей среды, °C 60 [°C] Количество фаз 1 Номинальное напряжение, В 36 Скорость вращения, об/мин 3900 Входная мощность, кВт 0,0033 Потребляемый ток, A 0.092 [A] Диаметр крыльчатки, мм 80 Вес, кг kg 0.170 KLM -
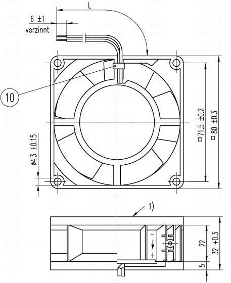
Чертеж изделия

Схема подключения

- + UB - красный
- - GND - синий
Электрические рабочие данные
Условия измерений
Нормальная плотность воздуха = 1,2 кг / м3; Температура 23 ° C +/- 3 ° C; Ось мотора горизонтальная; Разогрев время до измерения 5 минут (если не указано иное). В зоне входа и выхода не должно быть никаких твердых преград в пределах 0,5 м.
∆p = 0: соотв. для свободного воздушного потока I: соотв. к среднеквадратичному линейному току
Особенности Состояние Обозначение Значения Диапазон напряжения U 36 V 56 V Номинальное напряжение UN 48 V Потребляемая мощность
Допуск
∆p = 0 P 3,3 W
+- 17,5 %
5,8 W
+- 25,0 %
6,2 W
+- 25,0 %
Потребление тока
Допуск
∆p = 0 P 92 mA
+- 17,5 %
120 mA
+- 25,0 %
110 mA
+- 25,0 %
Скорость
Допуск
∆p = 0 n 3.900 1/min
+- 12,5 %
5.000 1/min
+- 2,0 %
5.000 1/min
+- 2,0 %
Электрические характеристики
Электронная функция Защита от обратной полярности
Максимум. остаточный ток при UN
Выпрямительный диод
IF <= 50 мкАЗащита от заторможенного ротора Автоматический перезапуск Ток заторможенного ротора при UN Iблок приблизительно 600 мА Тактовый сигнал при заблокированном роторе t3 / t4 типичный: 0,4 s / 10 s

Аэродинамические характеристики

Условия измерений
Измерено с помощью двухкамерной всасывающей установки в соотв. согласно DIN EN ISO 5801. Нормальная плотность воздуха = 1,2 кг / м3; Температура 23 ° C +/- 3 ° C; В зоне входа и выхода не должно быть никаких твердых препятствий в пределах 0,5 м. Информация действительна только при указанных условиях испытаний и может быть изменена условия установки. Если есть отклонения от стандартных условий испытаний, характеристические значения должны быть проверены в установленных условиях.
а) Условия эксплуатации:
5000 об / мин при свободном потоке воздуха; Частота: 50 Гц
Максимум. свободный поток воздуха (∆p = 0 / V = макс.) 80,0 м3 / ч Максимум. статическое давление (∆p = макс. / V = 0) 138 Па - + UB - красный
-
Вы можете задать любой интересующий вас вопрос по товару или работе магазина.
Наши квалифицированные специалисты обязательно вам помогут.